汽車制造
產品概述
product description
查看大圖
HSR-DT401
Delta并聯機器人系列HSR-DT系列機器人適用于各個行業的快速分揀排列或者裝箱,集成智能視覺識別功能,具有良好的動態跟蹤功能,能夠滿足大多數需要快速分揀的場景。DT_Catch軟件集成視覺設置、工具設置、軌跡設置、碼垛模塊、標定模塊為一體,操作簡便。依托華中數控多年成熟的運動控制技術,保證機器人的精準定位和穩定運行。關鍵運動部件采用進口成熟品牌,保證使用壽命。
使用說明下載產品特點
Features1.精準定位: 重復定位精度高達0.1mm。
2.視覺智能識別: 機器人可帶視覺系統,可對目標的形狀、特征、姿態進行識別并準確定位。
3.傳送帶動態跟蹤: 對視覺識別的目標進行動態捕捉,大大提高抓取效率。
4.高速: 抓取節拍高達200次/分鐘。
5.桌面放置,輕巧便攜移動。
產品參數
Product parameters產品型號 |
HSR-DT401 |
軸數 |
3+1(連桿款) |
負載 |
1Kg |
最大運動半徑 |
200mm |
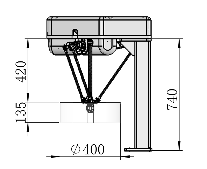
最大拾放高度 |
135mm |
第四軸旋轉角度 |
±360° |
重復定位精度 |
±0.1mm |
每分鐘運行節拍(25mm-305mm-25mm)、0.1kg |
200 |
電壓 |
380V |
整機功率 |
1800W |
I/O接口 |
數字量:24輸入,32輸出 |
通訊接口 |
網口:1個?Ethercat接口:1個 |
通信方式 |
TCP/IP、MODBUS、TCP |
本體預留信號線 |
10位(端子排連接) |
預留氣路 |
無 |
整機重量 |
85KG |
安裝方式 |
桌面安裝 |
控制柜重量 |
30KG |
控制柜尺寸 |
500(寬)×322(厚)×530(高)) |
本體-柜體連接線長度 |
5米 |
示教器線纜長度 |
無示教器 |
環境濕度 |
20%-85% |
環境溫度 |
0-45℃ |
本體防護等級 |
IP54 |
控制柜防護等級 |
IP53 |
產品尺寸
Product Size

